|
|
|
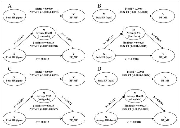
Figure 4.
Mediation models showing indirect effects of heart rate (HR) indices (X) on biceps femoris (BF) electromyography median frequency (MF) (BF_MF, Y) via respiratory–metabolic variables (M). (A-C) Peak HR (beats·min-1) as X with Average respiratory rate (RespR), minute ventilation (VE), or oxygen uptake (VO2) as M. (D) Average HR as X and Average RespR as M. Path coefficients (a, b, c′), bootstrapped 95% confidence intervals (CIs), and indirect effects (a×b) are reported. p < 0.05.
|